Power Automate Desktop(PAD)を使って、
“今日の日付の行だけ” をExcelから抽出して、別のExcelファイルに自動保存する方法 を紹介します。
👇こちらのYouTube動画では、設定手順をわかりやすく解説しています。
フロー全体像
今回のフローは次のような流れになります。
1つずつフローを解説していきます。

使用する Excel ファイルの構造
今回使用する Excel ファイルは、次のような構造になっています。
■ 1列目:日付(今日以外の日付も含まれている)
■ 2〜5列目:在庫データ
このような「複数の日付が混在しているExcel」から、
今日の日付だけを抽出して別ファイルにまとめる フローを作成します。
1列目の「日付」列は、Excel のセル書式が ユーザー定義(yyyy/m/d)」 に設定されています。

事前準備:テンプレートExcelの作成(A列を日付形式に設定)
Power Automate Desktop には、
Excel の「セルの表示形式(yyyy/m/d など)」を変更するアクションがありません。(2025/11現在)
そのため、出力先のExcelに日付を貼り付けた際に
“0:00” の時刻が付いてしまう問題が発生する場合があります。
これを防ぐために、
最初から「A列を日付形式(yyyy/m/d)」に設定したテンプレートExcelを使う のが安定した方法です。
▼ テンプレートExcelの作り方
① 新しいExcelを開く
② A列全体を選択
③ 右クリック →「セルの書式設定」
④ 「ユーザー定義」を選択
⑤ 種類に yyyy/m/d を入力
⑦ ファイルを「テンプレート.xlsx」などの名前で保存
このテンプレートを PAD で読み込み、抽出したデータを書き込んだあと
「名前を付けて保存」するのがベストです。

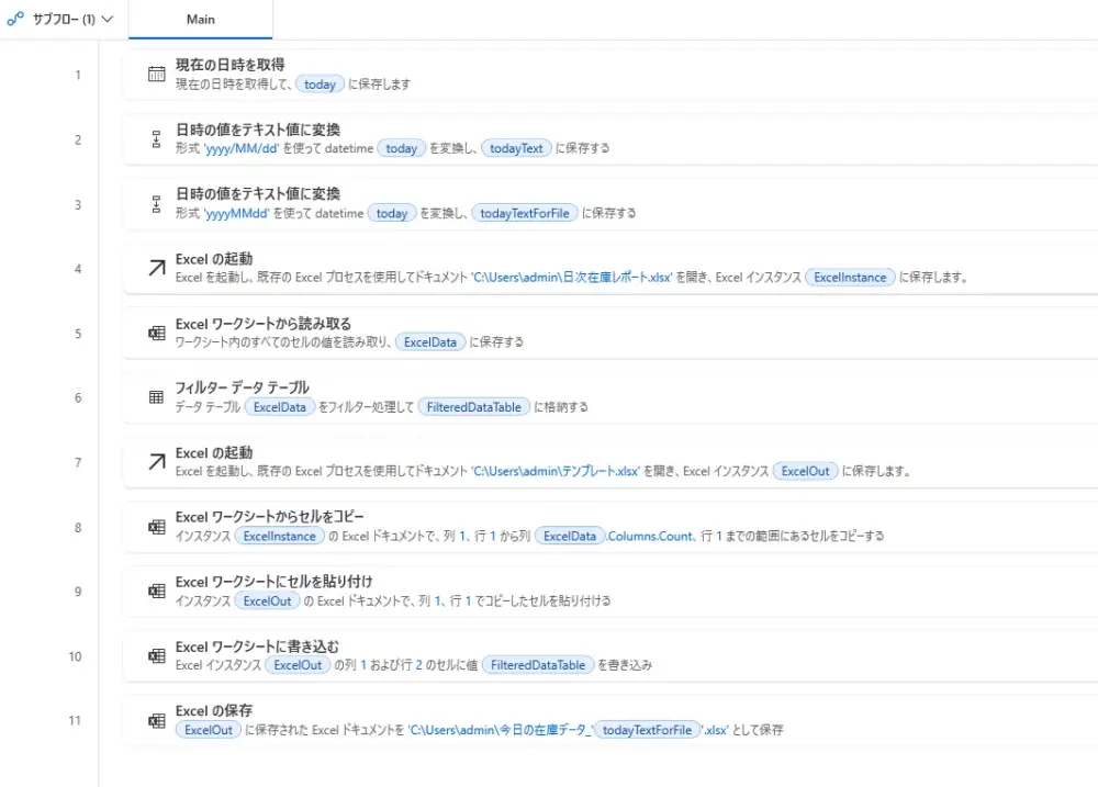
フロー作成手順
1. 「現在の日時を取得」
Excel には過去の日付を含む複数のデータが入っています。
その中から 今日のデータだけを取り出す ために、
まず最初に 「今日の日付」 を変数として取得します。
この変数が、後で行う “日付フィルター” の基準になります。
・生成された変数:today

2. 「日付の値をテキスト値に変換」
Excelの保存時に使うファイル名には、「/」など含めてはいけない文字があります。
そのため、「/」を含めない日付を作成します。
・生成された変数:todayTextForFile
(例:20251119)

3. 「Excel の起動」
データの抽出元となる Excel ファイルを指定します。

4. 「Excel ワークシートから読み取る」
Excel の内容を Power Automate Desktop で扱うため、
表全体を データテーブル(内部的な表データ) として読み込みます。
※「範囲の最初の行に列名が含まれています」をONにします

5. 「フィルター データ テーブル」
さきほど読み取ったデータテーブルの中から、
「日付列(Column1)が todayText と一致する行だけ」 を抽出します。
抽出結果は新しいデータテーブル(FilteredDataTable)として保持されます。



6. 「Excelの起動」
ここでは事前に準備したテンプレートを開きます。
テンプレートを使う事により、貼り付け後に「0:00」が表示されてしまう問題を防ぐことができます。
・生成された変数:ExcelOut

7. 「Excelワークシートからセルをコピー」
Power Automate Desktop は自動でヘッダーを生成しないため、
元Excelの 1行目のヘッダー行(A1〜E1) をコピーします。
最終行:
%ExcelData.Columns.Count%

8. 「Excelワークシートにセルを貼り付け」
手順 7 でコピーしたヘッダー行を、テンプレートExcelの A1 から貼り付けます。

9. 「Excelワークシートに書き込む」
抽出したデータ(FilteredDataTable)を
テンプレートExcelの A2 から 貼り付けます。
テンプレート側で A列が日付形式(yyyy/m/d)になっているため、
貼り付けた日付に時刻が付かずに表示されます。

10. 「Excelの保存」
最後に、今日の日付入りのファイル名で保存します。
日付が変わるたびに別ファイルが作られるため、
上書き事故が防止でき、日別データを整理しやすくなります。
ドキュメントパス:
C:\Users\admin\本日の在庫データ_%todayTextForFile%

出来上がったファイル(出力Excel)のイメージ
このフローを実行すると、
抽出された当日データだけをまとめた 新しいExcelファイル が自動生成されます。
▼出力ファイル名の例

▼出力されるExcelの構造
A列はテンプレートの書式により 時刻なしの日付表示(yyyy/m/d) のままで出力されます。

この記事がお役に立ちますと幸いです。
・【Power Automate Desktop】RPA実践テクニック・使用例まとめ

「シゴトがはかどる Power Automate Desktopの教科書」
業務自動化ツールの初心者でも使えるように、初歩から丁寧に解説
繰り返し発生する作業を本書で自動化して仕事を効率化しましょう!!